富迪拿国家领导人形象做违法广告被罚数百万元

富迪健康科技有限公司行政处罚
日前,国家市场监督管理总局公布2019年第四批虚假违法广告典型案件,其中涉及上海富迪健康科技有限公司发布违法广告案。
案情通报显示,上海富迪健康科技有限公司在微信公众号和官网中使用多名现任或原国家机关工作人员的形象做广告宣传,其广告发布持续时间长,且在案件调查时当事人未及时整改,违反了《广告法》第九条第二项的规定。
依据《广告法》第五十七条第一项的规定,2019年2月,上海市市场监督管理局执法总队作出行政处罚,责令当事人停止发布违法广告,并处罚款100万元。
2019年3月,湖南省长沙市开福区市场监管局接举报,反映富迪健康科技有限公司在当地酒店召开业绩表彰大会,会议过程中,该公司实际控制人在会上宣称国家领导人服用该公司产品等内容,涉嫌虚假宣传。
湖南省长沙市开福区市场监管局迅速对当事人立案调查。
经查,当事人在大会上假称国家领导人服用其“富迪小分子肽”产品、并假称国家部委负责人称赞该产品效果的事实属实,违反了《反不正当竞争法》第八条规定,构成对其商品作虚假的商业宣传的违法行为。
2019年6月,湖南省长沙市开福区市场监管局依据《反不正当竞争法》第二十条下达处罚决定,责令当事人停止虚假宣传行为,并处罚款200万元。
记者搜索天眼查发现,富迪健康科技有限公司成立于1994年,注册资本为1000万美元,由美国富佑集团有限公司百分百控股。
值得注意的是,据商务部直销行业管理网站披露,富迪健康科技公司于2006年10月26日获批得到第11号直销经营许可证。目前,其直销区域包含上海及四川两处,服务网点18个,直销产品为2类43种,直销培训员1人。其所有直销产品备案日期均停留在2006年,此后再无更新。
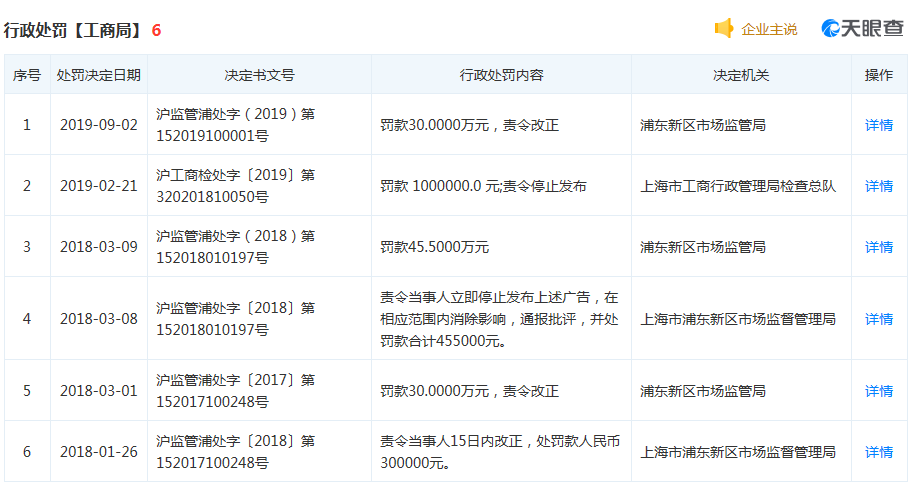
除以上两次处罚外,富迪健康近年来还曾多次遭到行政处罚。
2009年11月,因涉嫌违反《直销管理条例》,富迪健康被上海市徐汇区市场监督管理局责令改正。
2019年9月,因直销企业未依照有关规定进行信息报备和披露的行为,富迪健康被上海浦东新区市场监管局罚款30万元并责令改正。
2018年3月,因违反违反第九条第(三)项规定,发布广告使用“国家级”、“最高级”、“最佳”等用语,富迪健康遭浦东新区市场监管局罚款45.5万元,并立即停止发布相关广告,在相应范围内消除影响。
2018年3月,因违反直销企业未依照有关规定进行信息报备和披露的行为,富迪健康遭浦东新区市场监管局罚款30万元,并责令改正。
- 罗麦科技涉嫌虚假宣传跨区精英 “直销”变“传
- 直销还是传销?砸了20万买产品?完美公司一直销
- 安发国际甘诺宝力再次涉嫌传销 无证经营长达
- 近期国内的“资金盘”骗局,骗你没商量,千万
- 新时代国珍骗局深度开扒:国珍是不是央企?
- “无限极”销售人员夸大产品功效 灵芝皇胶囊能
- 陷入如新NuSkin传销被“洗脑”的十大明星
- 关于安利公司组织减肥培训、服用安利产品致死
- 小心了,这些微信代理都是传销
- 水龙头“治病”又“生钱” 紫光吉美销售方式涉
- 罗麦科技涉嫌传销工商局敢说传销拍死工商局
- 安利掌纹大师误导服用纽崔莱,导致如花少女脸
- 泉立方:背后污点重重、多次被工商依法处罚
- 欣欣向荣背后的直销危机:是谁给了康美疯狂违








