直销堂网——行业最具影响力的中国直销网、直销人首选网络直销门户!
直销堂网主页 > 独家报道 > 媒体曝光 > 起底薇薇国际:“权健式”头衔下的传销阴霾

起底薇薇国际:“权健式”头衔下的传销阴霾

编辑:龙冬冬来源:社交财经 2020-03-31 10:45围观:
\
 
  如今,微商从诞生到现在已经走过了7年,尽管微商让一部分赚到了钱,但是大部分微商以拉人头、炫富、代理商囤货等方式被指质疑。这其中就有一家曾辉煌一时的微商企业“薇薇国际”。
 
\
 
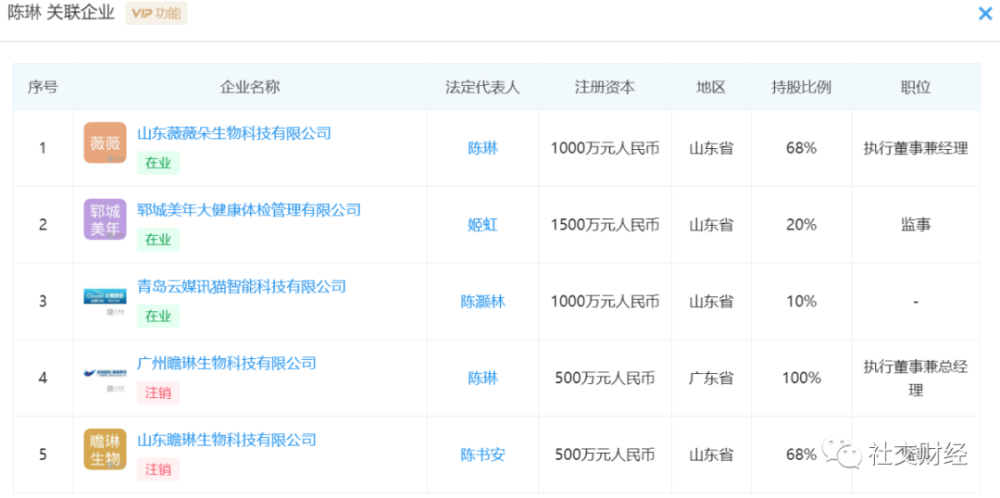
  据企查查显示,与陈琳相关联的企业有6家,其中广州瞻琳生物科技有限公司于2019年12月2日注销,山东瞻琳生物科技有限公司于2019年11月29日“注销”,郑州薇薇朵生物制药有限公司于2018年6月22日“注销”,与陈琳有关的除了山东薇薇朵生物科技有限公司,还有青岛云媒讯猫智能科技有限公司、郓城美年大健康体检管理有限公司。
 
\
 
  社交财经发现,2019年8月14日,山东薇薇朵生物科技有限公司经营产品卫生质量不符合要求的消毒产品被菏泽市卫生健康委员会警告、罚款5000元。
  那么,如今销声匿迹的薇薇国际与薇薇朵此前究竟发生了什么呢?
 
  涉嫌互联网传销被罚50万
 
\
来源企查查
 
  社交财经发现,2019年6月21日,山东省菏泽市牡丹区市场监督管理局以违法广告、非法传销两案对山东薇薇朵生物科技有限公司正式立案调查,与此同时,山东、菏泽有关卫生部门,对“薇薇朵”女性私护套装同步展开调查。而早在2018年1月9日,山东省滨州市工商行政管理局对陈琳所在山东瞻琳生物科技有限公司依法作出2018年第一号行政处罚决定书,决定书认定该公司利用互联网传销“薇薇国际”系列产品,其中包括女性私护套装,终被依法罚款50万元。
 
\
 
  随后,2018年1月15日,陈琳转而注册新公司——山东薇薇朵生物科技有限公司,现在,该公司法定代表人也由起先的刘学霞变更为陈琳。
 
\
 
  据了解,薇薇朵发展如此之快,在于其通过微商普遍采用的收取入门费、展开下级署理商、奖励豪车、奖励现金等刺激手段,公证书闪现的官方消息和来自于下线署理的“薇薇国际全品类价格表”证明,山东薇薇朵生物科技有限公司“薇薇朵”门槛政策分为六个层次,最高层次为实行总裁,其他等级依次为总代、至尊合伙人、贵族合伙人、金牌、创业合伙人,门槛分别为100万元、12万元、38000元、5400元、2880元、850元,其间,只需交纳5400元购买薇薇朵产品之后,才有展开下级署理商的资格。来自于下线署理的“薇薇国际全品类价格表”政策标明闪现,举荐晋级:薇薇朵第一批50%获利;官方和金牌返利折半。
 
\
 
  除了署理掏钱不断晋级之外,产品也在不断转换花招。根据相关公证书视频和来自于下线署理的“肽上饮原则价格表”证明,山东薇薇朵生物科技有限公司“肽上饮”门槛政策分为七个层次,等级依次为联合股东、贮藏联合股东、联合创始人、董事、总代、金牌、创业,门槛分别为405000元、254000元、77880元、29224元、8800元、2880元、850元。
  肽上饮福利政策闪现:回款5万奖励2%(1000元)、回款15万奖励3%(4500元)、回款45万奖励4%(18000元)、回款100万奖励5%(50000元)、回款300万奖励6%(180000元)、回款1000万奖励7%(700000元);联合股东以下等级同等级举荐返利按5元3元2元每盒逐层返利,联合东举荐联合股东返利第一次按5元一盒返利不计入成果返利等。
  此外,2017年11月,山东菏泽薇薇国际团队与某集团共同创建的移动分销平台,宣称将以“微商+电商+直销模式”商场的形式,汇集大众参与创业分享经济。但实质上该平台就是一个网上商城,以高额利益为诱饵,通过要求缴纳入门费的方式大肆发展会员,形成以主管、经理、总监、总裁和董事等不同级别,以多层级奖金结薪。
  该平台号称是大众创业平台和消费平台的旗帜公司,对外公然宣称投资360元,即使你什么都不做,商城也会按每天营业额的一定比例给你懒人奖,直到返够500元止。并称该平台是适合所有人的消费平台,可让加盟的每一位消费者现金返利,当天就能结算,秒投秒赚,市场网络无障碍平移+快速回本+世袭制等,投的越多保证赚的越多。
  而天华创客购平台所谓的商城分红奖、商城销售奖、商城管理奖以及商城超越奖均是以拉人头的数量和投资金额为基数计算获利比例(奖金)。如V2级别的投资金额是1900元,可获利至3000元封顶,直推3个人,前两个将以V2积分的50%返利,第三个按积分15%返。而依照该平台规定,V2奖是需要每个人都至少去拉人头到第五代,每人拉3个人,至第五代为243人。且不论243人投资金额已累计为庞大数字46万元的非法集资,单就变相缴纳入门费用、拉人头已违反《禁止传销条例》第二条。
 
  产品虚假宣传遭查处
  社交财经在名为“薇薇国际官方订阅号”发现,尽管薇薇国际订阅号没有明显相关产品虚假宣传的广告,反而发布了一些健康养生与预防疾病的宣传知识。
 
\
 
  但是此前据相关媒体报道,山东薇薇朵生物科技有限公司的群众号“薇薇国际”,持续多年严峻虚伪违法广告,将一款名为“薇薇朵女性私护套装”的消字号卫生用品,虚伪宣传成了防范和治疗各种妇科疾病的“纯中药”,四年来虚伪宣传违法广告至少百篇次。而这款由郑州爱立方生物技术有限公司出产的“女性私护套装”,卫生许可证为(豫)卫消证字(2017)第0020号,包装盒必需求格外留心的几点第5条明文标明“本品不代替药品运用”。通过查询专业相关知识,与合法正规的国药准字号药品比对,可以得知(豫)卫消证字(2017)第0020号“薇薇朵女性私护套装”仅仅是一款添加有醋酸氯己定的消字号卫生用品,醋酸氯己定为阳离子表面活性剂,归于广谱抗菌药物,一般用于手术前手、皮肤、刨面及器械消毒。卫生部《告知》卫监督发〔2005〕426号《关于消毒产品标签说明书处理标准》第十八条第三款规矩,抗(抑)菌剂产品阻止标明用于人体足部、眼睛、指甲、腋部、头皮、头发、鼻粘膜、肛肠等特定部位。
  面对实名揭发,2019年7月初,郑州市高新区社会工作局、市卫生监督局和高新区工商局树立联合查询组,通过调取郑州爱立方生物技术有限公司外包装出产记载检查时发现该企业出产的“薇薇朵女性私护套装”产品出产出售数量10000盒,出产日期是2019年6月1日出产的,现场出示有用的卫生安全点评陈说是2019年6月25日三份,2019年01月16日一份,郑州爱立方生物技术有限公司出产的“薇薇朵女性私护”套装(包装标准:草本抑菌片0.8g/片×3片/盒、草本抑菌丸1.2g/粒×3粒/盒、草本抑菌凝胶3g/支×3支/盒、舒茵抑菌凝胶3g/支×3支/盒),是在卫生安全点评陈说之前出产的,违反了《消毒处理办法》第三十二条第二项,联合查询组对郑州爱立方生物技术有限公司违反法令规矩的行为现已立案查处,与此同时,郑州爱立方生物技术有限公司解除了与山东薇薇朵生物科技有限公司之前签署的出产合同。
  而一款产品被月月虚伪广告,则款款产品被年年虚伪宣传。相同,与“薇薇朵女性私护套装”虚伪宣传欺诈消费的办法一同,由山东薇薇朵生物科技有限公司实名认证的群众号“肽上饮官网”,被揭发立案后更名为“肽上饮人参肽”,将一款用人参肽粉作材料出产的一般饮料——胶原蛋白人参肽饮品,在没有取得保健品批准文号的情况下,却反复强调“功用”,长期违法宣传“防范、治疗癌症”,甚至多次发布治疗癌症的“案例”。通过公证书翻看“前史”,山东薇薇朵生物科有限公司在长达两年的时间里,运用其微信认证群众号“肽上饮官网”揭穿虚伪宣传、涉嫌欺诈消费,涉案文章及图片篇幅逾越60余篇次,反复强调或暗示其出售的胶原蛋白人参肽饮品具有防癌抗癌、治疗荨麻疹、鼻炎等成效,将涉嫌不符合国家食物安全标准的一般饮料,以每盒商场零售价高达268元的价格层层传递式出售。
  国家卫生健康委员会发布的“既是食物又是药品的物品名单”中,人参、人参粉、人参提取物(人参肽粉)不在列,即人参、人参粉、人参提取物(人参肽粉)不能作一般食物材料。根据《卫生部关于进一步标准保健食物材料处理的告知》卫法监发【2002】51号文件附件2“可用于保健食物的物品名单”规矩,人参、人参叶、人参果只能用于保健食物。“胶原蛋白人参肽饮品”无标明人参添加量、制品中的含量,违反《食物安全法》,违反《预包装食物标签公例》第 4.1.4.1条规矩、第4.1.4.2条规矩。
  “胶原蛋白人参肽饮品”这款一般的食物涉嫌违法用人参肽粉(药品)作材料,实行标准与国家标准不符,没有取得保健品批准文号,这样的食物安全吗?”2019年7月9日、2019年7月29日,厦门市翔安区商场监督处理局先后书面奉告揭发人:“经核对,被投诉揭发人涉嫌违法,本局已抉择予以立案查询。”
  相关律师告诉社交财经,除了准字号药物,其余消字号、械字号、健字号产品,均不具备任何预防和治疗疾病的功能,这是公认的医学常识。然而,在现实生活中,尤其是在近些年兴起的微商圈内,一些微商企业为了不断发展下线赚取“入门费”和“升级费”,通过官方渠道和网络平台反复上课洗脑,把消字号卫生用品、消毒品的概念和准字号药物混淆,让毫无医学常识的下线代理错误地认为消字号产品也能预防和治疗疾病。加上影视明星在聚光灯下深情款款的推荐,一件普通的甚至是不合规的产品,在微商代理那口口相传的那一瞬间里,被吹嘘出栩栩如生的耀眼光芒。
 
  “权健式”的头衔与背书
  据相关媒体报道,薇薇朵的创始人陈琳,1987年出生,山东菏泽女子,系山东省菏泽市十五届政协委员,这个“权健式”的头衔并不是传销头目法定的匹配政策。
 
\
 
  与挣扎在一线靠发朋友圈吸引眼球的大多数微商略有不同,陈琳是那个爬上金字塔最顶端的微商企业董事长,先后被菏泽市政府、牡丹区委宣传部、牡丹区委、牡丹区精力文明建造委员会、菏泽市妇联等政府单位颁布“女性创业之星”、“最美青年”、“返乡创业带头人”、“先进单位”、“爱心企业”等许多荣誉称号。在这一块又一块金光闪闪的奖牌反面,是一片黑漆漆的传销疑云,连着持续多年几百篇的严峻虚伪违法广告,两者互为一体、并肩而行,表面看上去方枘圆凿,实践中却总能合为一体,互相交融、亲密无间。
  从天津权健束昱辉到山东菏泽薇薇国际陈琳董事长,不难发现,都有虚伪违法广告的痕迹,都有展开下线的传销疑云,两者还有一个一同的特征:“都是政协委员”。
  此外,据相关媒体透漏,2016年11月8日,菏泽市公安局某派出所接报警称在菏泽水岸嘉园西门有一群人正在打架,民警赶到后陈琳撕扯、抓挠协警并扇了其脸上一巴掌。这里的当事人陈琳就是香港薇薇国际有限公司的董事长,在现场参与此事的还有一个名叫陈书安的人。最终,陈琳、陈书安等人被检察院提起公诉,方法财经获悉,两人均被判处有期徒刑二年缓刑三年,自2018年开始进行服刑。
  那么,如今通过注销此前多家违规公司的方式成功脱身的山东薇薇朵生物科技有限公司会不会重操旧业?社交财经将持续关注。
【特别声明:部分文字及图片来源于网络,仅供学习和交流使用,不具有任何商业用途,其目的在于传递更多的信息,并不代表本平台赞同其观点。版权归原作者所有,如涉版权或来源标注有误,请及时和我们取得联系,我们将迅速处理,谢谢!】

最新头条