直销堂网——行业最具影响力的中国直销网、直销人首选网络直销门户!
直销堂网主页 > 直销资讯 > 打传一线 > 车友电商平台涉嫌传销被罚4千多万元

车友电商平台涉嫌传销被罚4千多万元

编辑:龙冬冬来源:社交财经 2020-04-09 14:06围观:
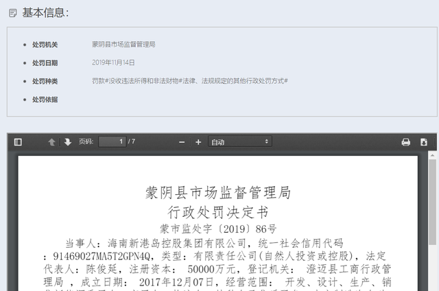
  不久前,社交财经在中国市场监管行政处罚文书网发现一则《蒙阴县市场监督管理局行政处罚决定书》,该处罚决定书日期是2019年11月14日,被处罚的当事人是海南新港岛控股集团有限公司(以下简称:海南新港岛公司)因组织、策划传销活动被罚没4000余万元。
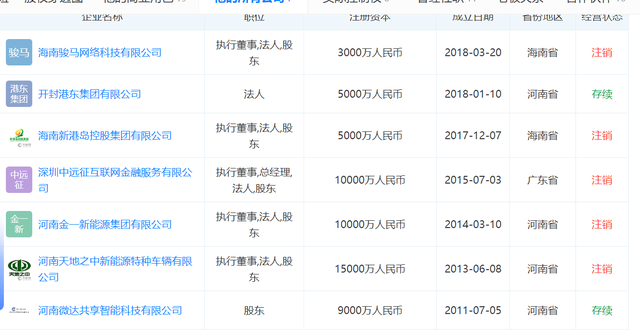
  据天眼查显示,海南新港岛公司法定代表人是陈俊延,该公司于2020年3月27日注销。但是,天眼查显示陈俊延相关的企业有12家,河南8家,其他的确4家,陈俊延曾在开封港东集团有限公司担任法人等高层职务,2019年4月26日,该公司法人变更为李忠才。2011年11月20日在河南微达共享智能科技有限公司高级管理人员备案人员中退出,其他公司均显示“注销”。
 
  车友电商平台涉嫌传销被罚4千多万元
  据了解,海南新港岛公司从2017年12月开始,在销售由河南九九一生 物科技有限公司、三门峡乐人家食品有限公司供货的“植泽天下”系列化 妆品、牡丹籽油、保健食品、饮料、北斗樽白酒、江典白酒和当事人正在研发的国马增程式新能源汽车过程中,通过互联网建立车友电商平台系统 管理中心发展会员或代理、俱乐部,成为会员或代理、俱乐部必须通过车友电商平台系 统管理中心购买当事人100美金至1000000美金不等的以上产品,分别成为 相应的消费会员、普通会员、初级代理、中级代理、社区代理、县级俱乐 部 、市级俱乐部、省级俱乐部,并在其车友电商平台系统管理中心注册 ,获得推荐他人加入的资格。成为会员或代理、俱乐部的条件及其计酬方 式(奖金制度)如下:
  一、成为会员的条件:消费会员100美金,普通会员1000美金,初级代 理5000美金,中级代理10000美金,社区代理 20000美金,县级俱乐部 500000美金,市级俱乐部 600000美金,省级俱乐部1000000美金。
  二、计酬方式:一是直接销售奖,推广者获得5%的直接销售奖励;
  二是级差奖,1星代理,个人直接投资5000美金或者累计团队业绩5000美金,享受5%补贴;2星代理,直接招商两家 累计业绩10万美金,享受10%补贴;3星代理,直接招商三家,累计总业绩达50万美金,考核两个市场,最小市 场达10万美金,享受15%补贴; 4星代理,直接招商五家,累计总业绩达 250万美金,除最大市场外其他市场之和达到总业绩的三分之一,考核三个 市场,最小市场达15万美金,享受20%补贴;5星代理,直接招商6家,累 计总业绩达到600万美金,除最大市场之外,其他市场之和达总业绩的三分 之一,考核四个市场,最小市场达25万美金,享受26%补贴;6星代理,直接招商7家,累计总业绩达到1500万美金,除最大市场之外,其他市场之和 达到总业绩的三分之一,考核四个市场,最小市场达50万美金,享受32% 补贴。
  三是当在5星代理以下各级出现平级时,由上级拨付新增业绩0.5%的 补贴,拨付3代;当6星代理等级出现平级时,将会由公司拨付新增业绩 0.5%的补贴,拨付3代。四是所有个人收入的10%进入重复消费,享受购车 额度及配股额度,提现5%手续费。
  三、积分奖励:①会员累计直接销售满7万元,奖励价值7000元人民币 的激活积分。②会员累计直接销售满14万元,奖励价值15400元人民币的激 活积分;③会员累计直接销售满28万元,奖励价值33600元人民币的激活积 分;④会员累计直接销售满35万元,奖励价值49000元人民币的激活积分 ;⑤会员累计直接销售满120万元奖励野马EC30纯电动商务车一辆;⑥会员 累计直接销售满160万元奖励广汽新能源GS4 SUV轿车一辆。预订国马新能 源汽车将继续按照每天千分之一点五(1.5‰)赠送积分。积分赠送至提车之日停止,最多不超过1年。此活动按照交全款的先后顺序发车,再按照交 订金多少的先后顺序发车。
  以上奖金制度由当事人制定并通过其公司网站、微信、微信群等网上交流方式进行宣传,该奖金制度规定,通过以上电商平台系统购买100美金到1000000美金不等金额的以上产品分别成为会员或代理、俱乐部为一代,一代再发展二代、三代……,上一代以下三代业绩或者最低累计业绩为依据提取报酬。
  自2017年12月至2019年4月,以上述方式发展会员30000余人,投资60000余单,会员之间形成23个层级,当事人利用其关联的海南骏马网络科技有限公司和海南路豪网络科技有限公司收取会员货款352903037.09元。2019年10月30日,三门峡市中和会计师事务所有限公司对当事人经营情况进行了审计(中和专审【2019】069号),审计结果表明:当事人在上述期间(2017年12月7日至2019年4月30日)共收入352903037.09元,支出314886673.10元,结余38016363.99元。
  蒙阴县市场监督管理局认为当事人采取的经营模式和计酬方式是通过发展人员加入,要求被加入人员购买“植泽天下”系列化妆品、牡丹籽油、保健食品、饮料、北斗樽白酒、江典白酒、新能源汽车等产品,取得加入和发展其他人员加入的资格,形成上下线关系,一代以下三代的业绩或最低累计业绩为依据计算和给付上线报酬的行为,违反了《禁止传销条例》第七条规定,构成组织策划传销的违法行为。
  依据《工商行政管理机关行政处罚案件违法所得认定办法》第二条规定,当事人结余的38016363.99元认定为违法所得及《中华人民共和国行政处罚法》、《禁止传销条例》相关规定,根据当事人的违法事实及违法情节,经研究决定对海南新港岛控股集团有限公司没收违法所得38016363.99元并罚款200万元;罚没款共计40016363.99元。
  被处罚后又推出“康养”项目
  海南新港岛公司被蒙阴县市场监督管理局处罚之后,又以建设大量康养基地为噱头,以此发行名为“健康宝”的产品。会员在新港岛公司充值后会获赠“健康宝”。
 
  “健康宝”宣称总发行量为3亿,该公司吹嘘“健康宝”跟股票一样,随着时间推移价格会不断上涨。为了让会员更加相信,新港岛公司称,健康宝未来可以买车、消费、分红甚至转换股权。
  根据新港岛公司的规则,预存7000元后该公司配送1750个健康宝,单个价格为4元。目前,健康宝的价格则已经上涨到了5元每个,以投资增值的“噱头”刺激会员入场。与此同时,老会员如果想将健康宝变现,需要不断拉人接盘。新港岛公司规定拉一个新会员加入,老会员持有的“健康宝”只能部分变现,所以一个老会员往往要拉多个新会员才可以退出。
  此外,社交财经看到,因为健康宝的接盘价格是“上涨”的,老会员只要拉新让自己退出,老会员的获利就会可观,进而刺激退出的会员继续进入重复拉人。
【特别声明:部分文字及图片来源于网络,仅供学习和交流使用,不具有任何商业用途,其目的在于传递更多的信息,并不代表本平台赞同其观点。版权归原作者所有,如涉版权或来源标注有误,请及时和我们取得联系,我们将迅速处理,谢谢!】

最新头条