床垫与鞋子能治病?这也有人深信不疑

如今,随着我国保健品市场持续发展已然走向壮大,但是仍面临诸多挑战,去年“百日行动”之后,我国监管部门对保健品市场进行了一次空前的整治,虽然保健品市场虚假宣传得到有效遏制,但是非食品类产品虚假宣传逐渐兴起。
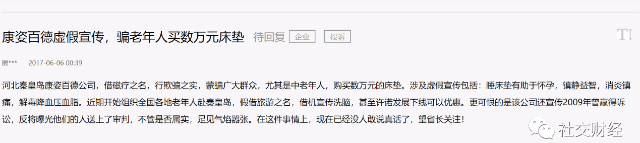
康姿百德床垫虚假宣传被罚仍获315认可
今年3月中旬,据中国质量新闻网黑牛投诉显示,山西祁县一经营场所内,有销售人员对聚集的老年人进行虚假宣传以期牟利。销售人员宣传的产品为康姿百德床垫,称康姿百德床垫的磁场可以有效的促进血液循环,预防和改善心脑血管疾病等。目前,祁县市场监督管理局对康姿百德床垫进行虚假宣传当事人处以罚款人民币100000元的处罚。
康姿百德床垫能有效的促进血液循环,预防和改善心脑血管疾病等究竟是真是假呢?据专家表示,磁疗在医学上是一种物理辅助治疗手段,而所谓磁疗床垫可以提高免疫力、预防疾病的说法,则是夸大宣传。

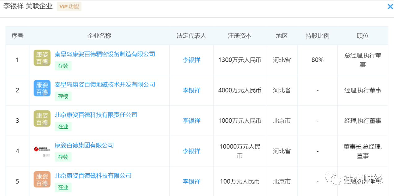
据企查查显示,品牌/产品:康姿百德属于康姿百德集团有限公司,法定代表人是李银祥,2004年7月14日成立。

事实上,康姿百德床垫因虚假宣传被罚已并非第一次,企查查显示,2014年6月,康姿百德床垫就被秦皇岛市卢龙县工商行政管理局罚款6万元,违法行为类型是虚假宣传。
2017年,安徽省工商和市场监管部门突出加强重点领域消费维权和市场监管工作,依法查处了一批重大典型违法案件。其中就包括池州市永健贸易有限公司在其经营场所处宣传、推介、销售“康姿百德”床垫和玉磁枕商品,依据《反不正当竞争法》第二十四条规定,池州市贵池区市场监管局对当事人作出责令立即停止违法行为,罚款50000元的行政处罚。


此外2018年,长沙政法频道也曝光过康姿百德床垫的虚假宣传行为,然而这么一家企业,在2020年“3·15”国际消费者权益日,康姿百德床垫再获315认可。
神乎其神的申花太赫兹鞋能防病毒与治病
2020年疫情爆发以来,各种打着预防病毒的产品层出不穷,除了保健品之外,甚至连鞋都能宣传预防病毒与具有治病效果,这款神鞋叫做“申花太赫兹鞋”,通过微信群宣传其神乎其神的功效。

“申花太赫兹鞋”全称为申花太赫兹纳米能量养生鞋,由上海申花鞋业有限公司制造,河南买多电子商务有限公司负责代理销售。
据申花太赫兹微信群内分享着一宣传案例,陕西省一消费者自称穿上鞋子两个月后,改善调理了身体诸多问题,包括前列腺、胃部消化吸收问题,以及睡觉打呼噜和男性功能都得以调理正常。而一双“申花太赫兹能量鞋新冬款”零售价为1388元。产品宣传页面称,鞋子中的“太赫兹能量芯片”具有激活半休眠和休眠细胞及骨髓内干细胞,有效促进新陈代谢的功能。大量实践表明,太赫兹对疏通淋巴循环、病变组织具有理疗作用。

除了大肆在微信与朋友圈虚假宣传外,“申花太赫兹鞋”代理模式涉嫌传销,据了解,消费者花费1991元即可以拥有买多平台“总代理”资格。总代理可以帮助公司推广买多平台的总代理,赚取佣金。总代理直推一名总代理,自己可得600元佣金,间接推广一名总代理,自己可拿210元。此外,还有一个是“合伙人”资格。要获得该资格,合伙人需要直接推荐5位总代理,自己团队的总营业额达到30万元。合伙人的好处是,平台给合伙人6000块钱的创业补贴。同时,合伙人直推一位总代理,自己可获得800元佣金。自己的团队中只要有人报单,自己还能获得210元佣金。“不分层、不封顶。”
相关律师认为,根据《最高人民法院、最高人民检察院、公安部关于办理组织领导传销活动刑事案件适用法律若干问题的意见》中对传销的认定为:“以推销商品、提供服务等经营活动为名,要求参加者以缴纳费用或者购买商品、服务等方式获得加入资格,并按照一定顺序组成层级,直接或者间接以发展人员的数量作为计酬或者返利依据,引诱、胁迫参加者继续发展他人参加,骗取财物,扰乱经济社会秩序的传销组织,其组织内部参与传销活动人员在三十人以上且层级在三级以上的,应当对组织者、领导者追究刑事责任”。
虚假宣传为何屡禁不止?
与以往保健食品虚假宣传不同的是,如今相关理疗的产品也渐渐成为虚假宣传中最重要的成员之一,理疗保健鞋垫、包治百病床垫等,2019年国家市场监督管理总局对保健品行业进行的“百日行动”来看,尽管保健品虚假宣传有所收敛,但是仍有其他类的理疗产品逐渐有抬头之势。
相关人士对社交财经表示,目前我国现行的广告法规定的处罚大多以经济处罚为主,对于积累大量财富的保健帝国而言,简单的经济处罚难以形成震慑。其次,群众对于保健类产品过度追捧,对于伪科学的不辨让不法商家有可乘之机。再次,从根源来看是我国医疗手段的落后甚至是医疗保障的不足,让走投无路的患者寄希望于被吹捧经济有效的非医疗产品。
此外,非医疗类产品还需要从源头治理,首先需要各地市场监管部门重拳治理,进一步加强对于非医疗类产品虚假宣传的处罚,情节严重的有必要进行行政处罚,同时需要加强监督监管;其次,对于非医疗类知识的宣传和普及,清扫民众对于保健品、伪科学的迷信认知障碍是根本;最后,持续改进医疗保障,推进大病医疗的覆盖范围和种类。
- 别再上当了!央视曝光2017最新传销组织名单
- 2017年最新出炉200个资金盘骗局黑名单曝光
- 传销渗入“汽车团购’,“万元购车”是最大骗
- 国通通讯以网络电话为幌子,涉嫌传销诈骗
- 唐山百位大妈陷“传销骗局”?是真治病还是真
- “中国一川”网络传销被查 非法交易高达7.9亿
- “莱蔓仙姿”“佳合家美”活力霜涉嫌传销
- 马来西亚政府查封MBI集团 冻结1.7亿赃款
- 新疆克拉玛依市海济药业传销案宣判
- 政府严厉打击WV梦幻之旅传销 南京已有11人被捕
- 善心汇真的出大事了?据传,张天明的资金被冻
- 榆林一传销组织以赫柏绿源净水机为幌子诈骗5
- LOOOPOOO创始人马志才被通缉
- 湖北襄阳女子当街被3名大汉强拉上车 防城港警方








