扒“北斗云吉祥期权股”内幕 老总名下公司涉传(2)
编辑:龙冬冬来源:反传销网 2018-03-16 10:03围观: 次

通过天眼查得知该公司注册于2015年,注册资金一亿元,实缴资金都是为0,且有经营异常的记录。


2017年8月16日,因广告中含有虚假内容而被遵义市红花岗区市场监督管理局罚款8250元


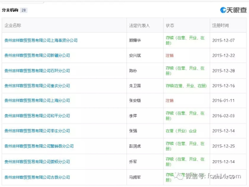
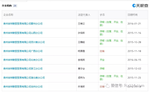
该公司注册了28个分支机构,但是已经注销的就有4家,同时潘荣强名下其他的公司也有诉讼案件。
【特别声明:部分文字及图片来源于网络,仅供学习和交流使用,不具有任何商业用途,其目的在于传递更多的信息,并不代表本平台赞同其观点。版权归原作者所有,如涉版权或来源标注有误,请及时和我们取得联系,我们将迅速处理,谢谢!】
人气文章
- 别再上当了!央视曝光2017最新传销组织名单
- 2017年最新出炉200个资金盘骗局黑名单曝光
- 传销渗入“汽车团购’,“万元购车”是最大骗
- 国通通讯以网络电话为幌子,涉嫌传销诈骗
- 唐山百位大妈陷“传销骗局”?是真治病还是真
- “中国一川”网络传销被查 非法交易高达7.9亿
- “莱蔓仙姿”“佳合家美”活力霜涉嫌传销
- 马来西亚政府查封MBI集团 冻结1.7亿赃款
- 新疆克拉玛依市海济药业传销案宣判
- 政府严厉打击WV梦幻之旅传销 南京已有11人被捕
- 善心汇真的出大事了?据传,张天明的资金被冻
- 榆林一传销组织以赫柏绿源净水机为幌子诈骗5
- LOOOPOOO创始人马志才被通缉
- 湖北襄阳女子当街被3名大汉强拉上车 防城港警方








